Intellectual Property IP
Most of the work that I undertake generates IP (intellectual property) or has to work around existing IP. In certain sectors is vital to have an IP strategy before designing a product to ensure that development efforts will return valuable results.
The first point is to identify if we are working in a space with restricted IP or where is important for a client to gain IP protection. If this is the case, then we plan with the client a process to secure patents or work around existing patents. The first point would be to understand the patent landscape in the territories that would be seeking protection or commercialization. Then I undergo continues (non-attorney) IP reviews for the concepts as they emerge, to establish potential design embodiments or technologies that could be developed. In this way, we can then generate the documentation that could be used by attorneys to secure patents or conduct “free to operate” search reports.



IP landscaping
This process is based on conducting patent searches in Patent databases. The search could be based on categories or narrowed by inventors or companies. Once the key patents are identified, we then can conduct reference search. In this process we identify referenced patents to get a good overview of the patent landscape.
Finally we would look on the patents status. This could give us good insight of freedom to operate spaces or areas that are to be avoided to not have conflicting IP.
Patent landscaping varies considerably depending on the sector and product. In some cases hundreds of patents could be available; In others, only a dozen. The first thing that we would suggest to do is to conduct a limited time and effort search to identify the landscape size and key inventors. Then from these results we can stablish a more detail IP landscaping strategy, which could narrow searches on a territory, period or group of companies.
At the end of the patent landscaping, we should have a good view of which design space could be explored as “free to operate” and “protected”, At this point is difficult to identify patentable or protectable spaces as we may not have concepts yet in place.
IP reviews
At each stage of the development process I would then conduct an IP reviews. The objective is to avoid development protected IP designs and identify potential design that could be patentable and protected. This is not an attorney reviews. As they tend to be costly and time consuming at the early stages. However, in some cases we would recommend filing designs to gain priority rights. At this point a patent attorney or solicitor should be involved.
Patent documentation
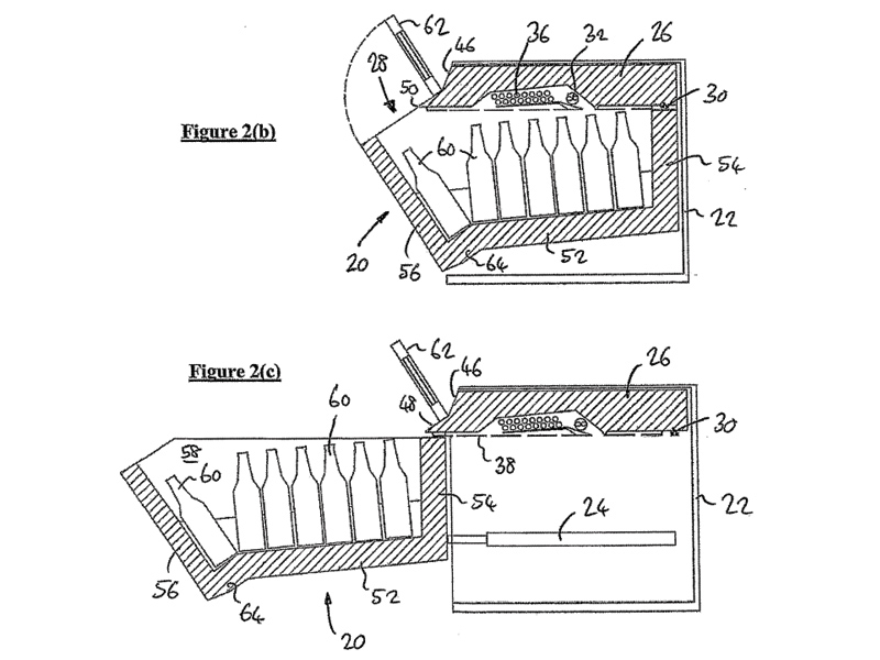
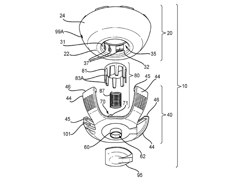
At different stages of the development process we may need to file for patent protection. At this point we work hand in hand with solicitors and attorneys to create the documentation that they require to apply for patents. The key aspects to cover are the description of the invention and claims, as well as drawings that illustrate different embodiments.
